联系电话:186-5392-9185(微信同号)
D71F铝手柄凸耳蝶阀
型 号D71F-16Q
通 径DN50-DN250
压 力PN16
温 度-20-150℃
主 材球墨铸铁
介 质淡水、污水、海水、弱酸碱、空气、蒸汽等
全国服务热线 18653929185(微信同号)

阀门优势

1、阀体采购QT450-10材料、球化率3级以上、机械性能完全达标,抗拉强度450Mpa,延展率大于10%,不易拉裂、冻裂;
2、阀体均为实心体,同等口径重量重于其他厂家
3、阀体外表采用静电粉末热喷喷涂工艺,喷涂厚度达到250μm,阀体200℃加热3小时,粉末180℃固化2小时 ,经自然冷却使外表附着力比普通粉末提高2倍,更加环保、耐候性更高,保证阀体36个月不变色;
4、手柄采用铝手柄设计,既保证美观又保证耐用
5、引进电子产品的PE热缩塑封包装工艺,每台产品均采用热缩膜独立包装,并内置干燥剂,隔离空气灰尘利于存放 避免受潮引起的产品锈蚀

阀门概况

产品配置:凸耳蝶阀,DI体,304米洛奇板,SS304轴,PTFE阀座,铝手柄;

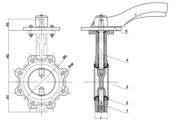
图纸.jpg

执行标准名称设计及制造结构长度试压标准上法兰尺寸侧法兰尺寸
参照标准GB/T 12238-2008GB/T 12221-2008GB/T 13927-2008ISO 5211CLASS150/PN6/PN10/PN16/
5K/10K/TABLE D/TABLE E
主要零部件信息名称阀体阀座蝶板阀轴信号蜗轮头
材质及说明DIEPDM304米洛奇304组件
尺寸信息公称尺寸外形尺寸结构长度PN16Class150
DNNPS(英寸)H1H2H3LΦAN-MΦAN-M
DN502"8016932431254-M16120.74-5/8"
DN652.5"8917632461454-M16139.74-5/8"
DN803"9518332461608-M16152.44-5/8"
DN1004"11420132521808-M16190.58-5/8"
DN1255"12721432562108-M16215.98-3/4"
DN1506"13922932562408-M20241.38-3/4"
DN2008"175257456029512-M20298.58-3/4"
DN25010"203280456835512-M2436212-7/8"


推荐阀门

©2019品工泵阀制造(山东)有限公司版权所有地址:山东省临沂市兰陵县新兴镇北辛庄村泵阀科技产业园

微信(电话同号)
186-5392-9185

抖音

快手